为帮助考生熟悉新高考志愿填报流程和系统操作步骤,迅雷魔域物价怎么样了解志愿填报方法,我省将进行高考志愿模拟填报。
一、填报对象
本次模拟填报要求所有2025年高考考生必须参加,认真进行操作练习,为正式填报志愿做好准备。
二、时间安排
模拟填报时间为6月20日9:00至6月22日18:00。
三、填报方式
考生通过贵州省普通高校招生考试考生综合信息平台()或最新版本“贵州招考”移动端APP(可通过华为应用市场、苹果App Store或腾讯应用宝下载安装)模拟填报所有批次志愿,参考《贵州省2025年高考志愿填报操作指南》进行练习。
四、注意事项
(一)本次模拟填报不是正式志愿填报,考生在系统填报的所有数据将在本次模拟填报结束后清空,不作为考生正式填报志愿依据。考生须根据正式志愿填报时间安排,按照要求及时登录系统填报正式志愿。
(二)模拟填报期间系统内所有招生计划数据均为模拟数据,仅作模拟使用。
贵州省2025年高考志愿填报操作指南
一、志愿填报方式
考生可通过电脑端和手机端两种方式进行志愿填报。
(一)电脑端
通过电脑端填报的考生,登录贵州省普通高校招生考试考生综合信息平台进行填报。

(二)手机端
通过手机端填报的考生,下载最新版本“贵州招考”移动端APP进行填报(APP可通过华为应用市场、苹果App Store或腾讯应用宝下载安装)。

二、电脑端志愿填报流程
步骤一:系统登录
考生登录贵州省普通高校招生考试考生综合信息平台,按要求输入身份证号及密码登录系统。

登录系统后,点击“我的志愿填报”菜单,系统左侧为主菜单,包含“计划查询”“收藏夹”“草稿箱”“志愿表”“历史志愿查询”“志愿填报日志”等栏目,点击后可进入相应界面。

步骤二:编辑志愿草稿
考生填报志愿时须先在“草稿箱”中编辑志愿草稿。
点击“草稿箱”栏目,可在右侧区域看到填报批次列表。
点击批次的“编辑”按钮,开始编辑对应批次志愿草稿。

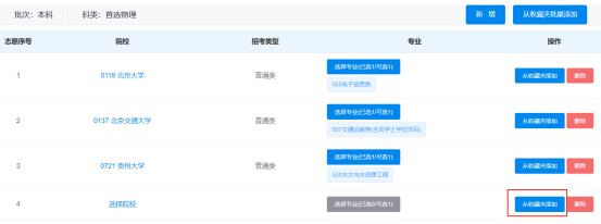
在“编辑”页面,考生可以点击“新增”按钮,逐条填选院校及专业。

也可以点击“从收藏夹添加”按钮,将已经收藏的院校专业导入某个志愿。


注意:编辑时,选择学校务必仔细核对清楚院校代号、院校名称,选择专业务必仔细核对清楚专业代号、专业名称,以及招考类型、外语语种、外语口试等专业相关要求。

步骤三:保存志愿草稿
考生志愿草稿编辑完成后点击“保存草稿”按钮进行保存,否则志愿草稿将不能保存。

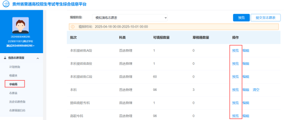
步骤四:核对志愿草稿
考生保存志愿草稿后,点击“草稿箱”中各批次的“预览”按钮核对志愿草稿。在正式提交志愿前,可对志愿草稿进行修改。务必逐条核对志愿信息,包括核对院校代号、院校名称、专业代号、专业名称以及志愿顺序等。


步骤五:提交志愿表
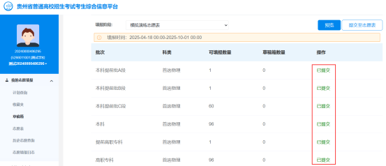
考生各批次志愿草稿编辑完成且核对无误后,点击草稿箱页面右上角“提交至志愿表”按钮,输入“登录密码”后将“草稿箱”中志愿作为正式志愿提交,确保提交成功后志愿方可生效。未提交至志愿表或者提交失败,志愿将为无效志愿。

提交后,草稿箱各批次列表将显示“已提交”。

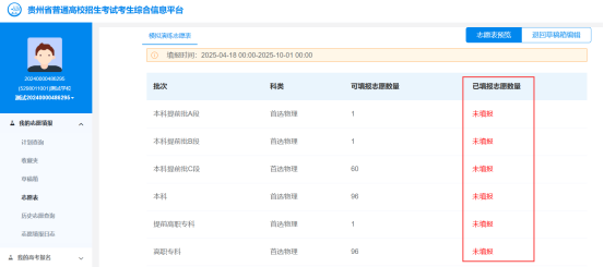
步骤六:查看正式志愿表
考生提交志愿后,须点击“志愿表”→“志愿表预览”。逐条核对志愿信息,查看和确认所填报的院校专业志愿是否提交成功,包括核对院校代号、院校名称、专业代号、专业名称以及志愿顺序等。

考生若需修改已提交志愿,可通过“志愿表”→“退回草稿箱编辑”,将已提交志愿退回至草稿箱。此时系统会要求输入登录密码,并提示已提交志愿表次数和剩余可提交次数。

注意:已提交志愿退回至草稿箱后,志愿表将被清空,显示为“未填报”,考生须在“草稿箱”中编辑后重新提交志愿,否则志愿信息将为空。考生在志愿填报期间,最多可提交3次志愿,提交次数用完或填报时间截止后,所填报志愿不能进行任何修改。

步骤七:安全退出
考生志愿填报完成后,点击“安全退出”以及关闭填报页面,以确保志愿信息安全。

二、手机端志愿填报流程
步骤一:系统登录
考生下载最新版本“贵州招考”移动端APP(可通过华为应用市场、苹果App Store或腾讯应用宝下载安装),按要求输入身份证号及密码登录系统。

登录系统后,点击“我的志愿填报”菜单,包含“计划查询”“收藏夹”“草稿箱”“志愿表”“历史志愿查询”“志愿填报日志”等栏目,点击后可进入相应界面。

步骤二:编辑志愿草稿
考生填报志愿时须先在“草稿箱”中编辑志愿草稿。
点击“草稿箱”栏目,可以看到填报批次列表。
点击批次可以开始编辑对应批次志愿草稿。

在“编辑”页面,考生可以点击“新增志愿”按钮,逐条填选院校及专业。



也可以点击“从收藏夹添加”按钮,将已经收藏的院校专业导入某个志愿。


注意:编辑时,选择学校务必仔细核对清楚院校代号、院校名称,选择专业务必仔细核对清楚专业代号、专业名称,以及招考类型、外语语种、外语口试等专业相关要求。

步骤三:保存志愿草稿
考生志愿草稿编辑完成后点击“保存草稿”按钮进行保存,否则志愿草稿将不能保存。

步骤四:核对志愿草稿
考生保存志愿草稿后,在“草稿箱”中向左滑动批次区域,点击“预览”按钮核对志愿草稿。在正式提交志愿前,可对志愿草稿进行修改。务必逐条核对志愿信息,包括核对院校代号、院校名称、专业代号、专业名称以及志愿顺序等。


步骤五:提交志愿表
考生各批次志愿草稿编辑完成且核对无误后,点击草稿箱页面“提交至志愿表”按钮,输入“登录密码”后将“草稿箱”中志愿作为正式志愿提交,确保提交成功后志愿方可生效。未提交至志愿表或者提交失败,志愿将为无效志愿。


步骤六:查看正式志愿表
考生提交志愿后,须点击“志愿表”→“预览”。逐条核对志愿信息,查看和确认所填报的院校专业志愿是否提交成功,包括核对院校代号、院校名称、专业代号、专业名称以及志愿顺序等。


考生若需修改已提交志愿,可通过“志愿表”→“退回草稿箱编辑”,将已提交志愿退回至草稿箱。此时系统会要求输入登录密码,并提示已提交志愿表次数和剩余可提交次数。

注意:已提交志愿退回至草稿箱后,志愿表将被清空,显示为“未填报”,考生须在“草稿箱”中编辑后重新提交志愿,否则志愿信息将为空。考生在志愿填报期间,最多可提交3次志愿,提交次数用完或填报时间截止后,所填报志愿不能进行任何修改。

步骤七:安全退出
考生志愿填报完成后,点击“我的”—>“退出登录”以及关闭填报页面,以确保志愿信息安全。

四、其他系统功能
(一)修改密码
若考生遗忘登录密码,可通过“贵州招考”移动端APP修改密码。打开“贵州招考”移动端APP后,输入证件号码,点击“换个方式登录”,选择“刷脸登录”(若已经绑定手机号,可选择“短信验证码”登录)。

登录后,通过“我的”→“安全设置”→“修改密码”修改登录密码。


(二)计划查询及收藏
考生可在“计划查询”栏目选择对应“批次”查询本年度高考招生计划。

考生可按照多种条件进行组合筛选,例如院校筛选条件可查询院校所在省市、是否为211、985,院校的办学性质,以及院校名称。

专业条件筛选页面,可根据再选科目要求、艺术类别要求、招考类型、外语语种要求、外语口试要求、学制年限、收费标准、专业名称等进行查询。

需要注意,如果先筛选查询了院校,再进行专业条件筛选时,筛选结果为前面筛选院校的相关专业,可以点击“重置”清空查询条件。

考生在计划查询过程中,可将感兴趣的专业进行收藏。

在“收藏夹”中,可以通过切换上方选项卡查看自己收藏的各个批次的专业计划。

以上截图为“志愿填报系统”操作过程和演示说明,具体的内容信息以实际填报为准。
评论